تؤثر درجة حرارة الزيت ودرجة حرارة التعويذة داخل المحول على أداء وخدمة المواد العازلة ، مما يؤثر على عمر المحول وحتى يسبب الأخطاء مباشرة. لذلك ، من الضروري مراقبة درجة الحرارة الداخلية للوقت- الوقت. وفقا لمبدأ قياس درجة الحرارة ، هناك ثلاثة أنواع من موازين الحرارة: 1. مقياس حرارة الزئبق ؛ 2. مقياس حرارة الضغط. 3. مقياس حرارة المقاومة البلاتينية. يمكن استخدام درجة الحرارة المقاسة بالطرق التالية: 1. تم إرسالها إلى متر الجسم الرئيسي لعرضها في الوقت الحقيقي - من خلال المؤشر ؛ 2. التحكم في البرودة وأرسل إشارات الإنذار من خلال جهات الاتصال الإضافية للمقياس ؛ 3. يتم إرسال الكمية التناظرية إلى جهاز القياس والتحكم لعرض درجة الحرارة على خلفية المراقبة. يجب على موظفي التشغيل والصيانة معالجة ظروف درجة الحرارة غير الطبيعية وفقًا لدليل تعليمات الشركة المصنعة واللوائح. بسبب الجهد العالي والحقل المغناطيسي القوي داخل المحولات الكبيرة ، يتم اعتماد "مقياس الحرارة" (المبدأ 2) بشكل عام. هناك نوعان من وحدات التحكم في درجة الحرارة للمحولات: تحكم درجة حرارة سطح الزيت ووحدة تحكم درجة حرارة اللف ، مع وجود اختلافات من حيث المبدأ والبنية في جانب واحد. الآن ، دعونا نقدم مباشرة وحدة تحكم درجة حرارة اللف.
أولاً ، دعنا نتعرف على مظهرها ، كما هو موضح في الشكل أدناه.

1. يحتوي لمبة درجة الحرارة على درجة حرارة - وسيط الاستشعار ، والذي يتوسع عند تسخينه. يتم إدخال هذا الجزء في الزيت فوق المحول إلى عمق حوالي 150 مم.

2. يحتوي خرطوم الربيع ملفوف في الخلف على أنبوب شعري ، ينقل الوسيلة المتوسعة إلى العداد.
يدفع الوسيلة المتوسعة العنصر المرن ، ويتم قيادة المؤشر من خلال آلية النقل. يعرض المؤشر الأبيض الموجود على الاتصال العلوي درجة حرارة الوقت -.
3. هناك معلومات أخرى عن الاتصال الهاتفي: مؤشر أحمر وأربعة لون - كتل مؤشر مشفرة (أحمر ، أزرق ، أخضر ، أصفر). أ. عندما ترتفع درجة الحرارة ، يتحول المؤشر الأبيض إلى موضع المؤشر الأحمر ثم يستمر في الدوران يمينًا ، وسوف يدفع المؤشر الأحمر إلى الدوران يمينًا معًا. عندما تنخفض درجة الحرارة ، لن يعود المؤشر الأحمر مع المؤشر الأبيض ، وبالتالي فإن المؤشر الأحمر يسجل الحد الأقصى لموضعه الذي وصل إليه المؤشر الأبيض. ب. تتوافق المؤشرات المشفرة للألوان الأربعة- مع أربع مجموعات من جهات الاتصال المساعدة المفتوحة عادة (أو مغلقة عادةً) ، وقيمة درجة الحرارة المقابلة هي قيمة الإجراء للجهة الإضافية.


يتم تحديد وظائف جهات الاتصال الإضافية من قبل المستخدم ، تقريبًا على النحو التالي: K1. درجة حرارة العودة الباردة. K2. درجة حرارة البدء الباردة. K3. إنذار درجة الحرارة العالية ؛ K4. رحلة ارتفاع درجة الحرارة. تحتوي معظم العدادات الجديدة الآن على 6 مجموعات من جهات الاتصال المساعدة ، مع K5 باللون الرمادي و K6 باللون الأرجواني ، والتي يمكن استخدامها حسب الحاجة أو الاحتفاظ بها كقطع الغيار.
ومع ذلك ، فإن درجة الحرارة المقاسة أعلاه لا تزال درجة حرارة الزيت ، والتي لا علاقة لها باللفات. بالمناسبة ، لا يمكن الوصول إلى موضع اللفات مع مقياس الحرارة ، لذلك يتم اعتماد الحل البديل ، وهو المكان الذي تختلف فيه وحدة تحكم درجة حرارة اللف من وحدة التحكم في درجة حرارة سطح الزيت.
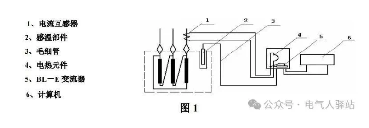
ما سبق هو مجرد رسم تخطيطي للمبدأ. دعونا لا يهمنا كيف ترتبط لفائف المحول على اليسار. هنا ، المكونات 1 و 4 و 5 هي الميزات الخاصة. وببساطة ، فإن المبدأ هو تحويل تيار الحمل في الدائرة 1-4-5 في ارتفاع درجة حرارة النحاس ، ثم قم بتثبيته على درجة حرارة الزيت للحصول على درجة حرارة متعرج.
1 هو الملف الثانوي من الجهد العالي - الجهد الجهد الجهد ct. يتم تحويل تيار الإخراج بواسطة المحول الحالي (5) إلى تيار مناسب باستخدام طريقة محددة (لأن التيارات الثانوية تختلف بين الشركات المصنعة بسبب الاختلافات في نسب التحول ، وما إلى ذلك ، التحويل الحالي ضروري). يمر التيار المحول عبر عنصر التدفئة الكهربائية (4) ، وتوليد الحرارة الناتجة عن زيادة في إزاحة العنصر المرن ، مما يؤدي إلى ارتفاع درجة حرارة مشار إليها ، مما يعكس درجة حرارة اللف.
هناك أيضًا طريقة محاكاة حرارية هنا: يتم استخدام التيار الثانوي المحول لتسخين لمبة درجة الحرارة.
انظر إلى اللوحة: يتم استخدام الثانوية لقياس درجة حرارة اللف.
في وقت سابق ، تحدثنا عن وحدة تحكم درجة الحرارة. نظرًا لوجود المزيد في المستقبل ، أوضحنا أصل مؤشر درجة الحرارة لوحدة التحكم في درجة الحرارة في ذلك الوقت. يستشعر لمبة درجة الحرارة التي تم إدخالها في زيت المحول درجة حرارة الزيت ، وتنقل الوسط المرن في لمبة درجة الحرارة التمدد إلى المؤشر ، مما يشير إلى درجة الحرارة. تم ترك سؤالين دون حل في ذلك الوقت: أولاً ، حيث يتم تسخينها بالضبط بواسطة تيار CT في قياس درجة حرارة اللف ؛ ثانياً ، كيف تأتي درجة الحرارة الرقمية المعروضة على خلفية المراقبة. بعد دراسة التعليمات بعناية واستشارة الشركة المصنعة للعدادات ، حصلنا على الإجابات. أولاً ، تسخن التيار CT (الذي تم تحويله بواسطة المحول الحالي) لمبة درجة الحرارة في المحول. كما هو مبين في هذا الشكل ، يتم تحويل الناتج الحالي من 1 من خلال 5 ثم إدخاله إلى 2 لتسخين لمبة درجة الحرارة.

كان الرقم أدناه مربكًا ويصعب فهمه في البداية ، لكن هذا أمر منطقي الآن. يجب أن يكون المربع المتقطع على اليمين عرضًا موسعًا لقاعدة درجة الحرارة على اليسار. المربعان المتصلان بالخط الأحمر هما في الواقع نفس المكون. هذا يجعل من السهل الفهم: داخل قاعدة درجة الحرارة ، هناك لمبة درجات الحرارة ، وعنصر التدفئة الكهربائية (لمقياس الحرارة المتعرجة) ، ومقاوم PT100.

لذلك ، فإن الوصف في هذه الفقرة من "وحدة التحكم في درجة الحرارة 1" غير دقيق. لا يمكن القول أن هناك طريقة محاكاة حرارية أخرى. بعد البحث في العديد من النماذج ، اتضح أن جميع وحدات التحكم في درجة حرارة المتعرجة تعتمد طريقة المحاكاة.
"1 هو الملف الثانوي للمجهد العالي - ct. يتم تحويل تيار الإخراج إلى تيار مناسب من خلال المحول الحالي 5 وفقًا لطريقة معينة (نظرًا لأن التيارات الثانوية تختلف بين الشركات المصنعة المختلفة بسبب اختلافات التدفئة في التنازل عن عنصر التسخين الموحد والخليط الذي يتم الإزاحة إلى عنصر التسخين الإجرياني والمؤسسة المعبأة في التنازل عن الإزاحة. زيادة ، بحيث تزداد درجة الحرارة المشار إليها ، مما يعكس درجة حرارة اللف.
والسؤال الثاني هو: كيف تظهر درجة الحرارة المعروضة في مراقبة الخلفية؟ دعونا نلقي نظرة على مخطط دائرة قياس درجة حرارة المحول الرئيسية.
يقوم مقياس الحرارة بإخراج إشارات التيار 4-20MA. فيما يلي مقدمة موجزة لمقاوم PT100 البلاتيني: "PT100 هو مقاوم حراري بلاتيني يتغير مقاومته مع درجة الحرارة. تشير" 100 "في PT100 إلى أن مقاومته هي 100 أوم في 0 درجة ، وحوالي 138.5 أوم في 100 درجة."
تتغير مقاومة جميع الموصلات مع درجة الحرارة ، ولكن التغير في مقاومات البلاتين مستقر وهام. يعمل مبدأ قياس درجة الحرارة من خلال رسم هذه العلاقة المقابلة كمنحنى ، ثم التحقق من درجة الحرارة المقابلة للمقاومة المقاسة ضد المنحنى. هذا يحول درجة الحرارة إلى مقاومة ، حيث تساوي المقاومة الجهد مقسومًا على التيار. يقوم الكمبيوتر بمعالجة الإشارة الكهربائية للحصول على درجة الحرارة من PT100.
لذلك ، فإن تطبيق جهد التيار المستمر على المقاوم البلاتيني في لمبة درجة الحرارة وإخراج التيار هو كيفية عمل مرسل درجة الحرارة ، وهو الجزء في الإطار الأحمر للشكل أدناه. (هذا هو المبدأ الأساسي ؛ في الممارسة العملية ، تحتوي أجهزة إرسال درجة الحرارة أيضًا على دوائر لتعديل الصفر وتعويض الدقة ، والتي لا تحتاج إلى فهمها بالتفصيل.)
يمكن أيضًا إخراج PT100 مباشرة (الجزء في الإطار الأزرق). أفهم أن وحدة التحكم في درجة الحرارة هي المسؤولة عن قيادة طرفي المقاوم (القضاء على الحاجة إلى جهاز إرسال) ، وتطبق دائرة القياس الجهد بنفسها للحساب.
بالنسبة إلى السبب في أن PT100 يحتوي على ثلاثة خيوط ، فقد راجعت عبر الإنترنت ووجدت التفسير التالي (هذا الجزء هو قراءة اختيارية): يحتوي مستشعر مقاومة PT100 البلاتيني على ثلاثة خيوط ، يمكن تمثيلها بواسطة A ، B ، C (أو الأسود ، الأحمر ، الأصفر). القواعد بين الخيوط الثلاثة هي كما يلي: المقاومة بين A و B أو A و C هي حوالي 110 أوم في درجة حرارة الغرفة ، في حين أن المقاومة بين B و C هي 0 أوم لأن B و C متصلة مباشرة داخليًا. من حيث المبدأ ، لا يوجد فرق بين B و C. عمومًا ، توفر أدوات العرض طريقة توصيل الأسلاك ثلاثة-. إحدى طرفي PT100 له تقدم واحد ، والطرف الآخر له خيوطان ، وكلها متصلة بالأداة. تعوض الأداة داخليًا مقاومة الرصاص من خلال دائرة الجسر.
تنظيم نهائي واحد: لا تختلف درجة الحرارة التي يظهرها العداد وذلك على خلفية المراقبة بأكثر من 5 كيلو. يجب أن تكون درجات الحرارة التي تشير إليها مقاييس حرارة متعددة في الموقع ، أو أجهزة عرض درجة الحرارة في غرفة التحكم ، أو نظام المراقبة متسقًا بشكل أساسي ، مع وجود خطأ لا يتجاوز 5 كيلو.
قسم CTA (تحسين معدل التحويل):
📞 احصل على الحلول الحصرية للأسواق الأمريكية والأفريقية الآن
البريد الإلكتروني: jsm687254@gmail.com
استشر المهندسين عبر WhatsApp: +86 15706806907 (مرفق مع دليل المنتج PDF)
